背景技術
鋼絲繩電動葫蘆具有結構緊湊、重量輕、體積小、零部件通用性強、操作方便等優點,被廣泛用于裝卸重物,機械焊接,機械設備的安裝和移動等。現有技術中的鋼絲繩電動葫蘆的制動器多設置在起吊電機一側,或設置在起吊電機中與起吊電機制成一體結構,這種結構的鋼絲繩電動葫蘆工作過程中,當電機到減速器的中間傳動環節失效時,鋼絲繩卷筒將失去制動,導致懸掛在吊鉤上的重物發生墜落,造成安全事故。并且,現有技術中的鋼絲繩電動葫蘆多采用行星減速器對起吊電機的輸出進行減速,存在著行星減速器的生產成本較高,減速機內的散熱條件較差,功率損耗大,承載能力、抗沖擊能力較差,使用壽命較短等缺點。
具體實施方式
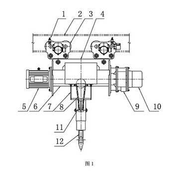
如圖1、圖2所示,本實用新型的鋼絲繩電動葫蘆,包括使電動葫蘆沿吊軌2移動的橫行小車3,在橫行小車上設有橫行小車驅動電機,在橫行小車上設有橫行限位開關1,在橫行小車下方固定有起升機構4,所述起升機構包括鋼絲繩卷筒6,在鋼絲繩卷筒上纏繞有起吊鋼絲繩8,在起吊鋼絲繩上設有吊鉤滑輪組11和吊鉤12,在卷筒下方還設有起升高度限位器7,所述起升高度限位器為二級起升高度限位器,在鋼絲繩卷筒的一端設有起吊電機5,在鋼絲繩卷筒的另一端沿鋼絲繩卷筒的軸向依次設有減速器9和制動器10,所述制動器為常閉式電磁盤式制動器。


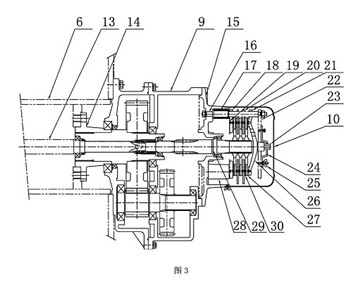
如圖3所示,起吊電機軸13穿過鋼絲繩卷筒通過聯軸器與減速器動力輸入軸和常閉式電磁盤式制動器的制動軸29聯接,減速器動力輸出軸14與鋼絲繩卷筒聯接,所述減速器為三級柱形齒輪減速器,所述常閉式電磁盤式制動器包括將制動器固定在減速器殼體上的法蘭座體15,在法蘭座體上以制動軸心為圓心環形陣列設置至少三個導向柱16,在導向柱上依次套裝有可沿導向柱移動的剎車彈簧17、隔板19、移動芯板18、兩個環形剎車盤20、整體剎車盤21,在導向柱上還套裝有可將隔板、移動芯板、環形剎車盤、整體剎車盤推向剎車彈簧側的剎車銜鐵22,在法蘭座體上設有與剎車銜鐵相配合的剎車電磁鐵28,在制動軸上設有三個剎車輪27,在剎車輪上設有摩擦片30,三個剎車輪分別設置在環形剎車盤與整體剎車盤間、兩個環形剎車盤間、環形剎車盤與移動芯板間,所述整體剎車盤為中部具有弧形凸面26的剎車盤,在剎車銜鐵的中心設有剎車距離調整螺栓23,剎車距離調整螺栓端部與整體剎車盤中部弧形凸面頂部頂推接觸,在剎車銜鐵上設有調整螺栓旋擰、固定把手24,在把手上設有把手止動母25。
